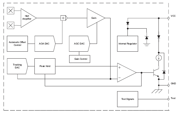
The ATS642 is an optimized Hall IC providing a user-friendly solution for true zero-speed digital gear-tooth sensing in two-wire applications. The device consists of a single-shot molded plastic package that includes a samarium cobalt pellet, a pole piece, and a Hall effect IC that has been optimized to the magnetic circuit. This small package, with optimized two-wire leadframe, can be assembled simply and used in conjunction with a wide variety of gear shapes and sizes.
The integrated circuit incorporates a dual element Hall effect IC and signal processing that switches in response to differential magnetic signals created by ferrous gear teeth. The circuitry contains a sophisticated digital circuit to reduce magnet and system offsets, to calibrate the gain for air gap independent switchpoints, and to achieve true zero-speed operation. Signal optimization occurs at power-up through the combination of offset and gain adjust and is maintained throughout the operating time with the use of a running mode calibration. The running mode calibration allows immunity to environmental effects such as microoscillations of the target or sudden air gap changes.
The regulated current output is configured for two wire applications and the device is ideally suited for obtaining speed and duty cycle information in ABS (antilock braking systems). The 1.5 mm Hall element spacing is optimized for fine pitch gear-tooth-based configurations. The package is lead (Pb) free, with 100% matte tin leadframe plating.
For a SIP package, please see the A1642LK.


Allegro MicroSystems Germany GmbH
Adlerweg 1
D-79856 Hinterzarten, GERMANY
Phone: +49-(0)7652-9106-0
Fax: +49-(0)7652-767
Email: info.germany@allegromicro.com
Allegro MicroSystems Germany GmbH
Vangerowstr. 18/1
D-69115 Heidelberg, GERMANY
Phone: +49 (0) 6221 8723 5
Email: info.germany@allegromicro.com
If this is not your local representative, find your local sales rep here.

The ATS642 is supplied in a 4-pin SIP (suffix SH) package. The package is lead (Pb) free, with 100% matte tin lead frame plating.
There are no news items available for this product.
| Part Number | Package Type | Temperature | RoHS Compliant |
Part Composition / RoHS Data |
Comments | Samples | Check Distributor Stock |
|---|---|---|---|---|---|---|---|
| ATS642LSHTN-I1-T | 4-lead SIP | -40°C to 150°C | Yes | View Data | Contact your local sales rep |
Check Stock | |
| ATS642LSHTN-I2-T | 4-lead SIP | -40°C to 150°C | Yes | View Data | Contact your local sales rep |
Check Stock |