リニア ホール効果ベースの高精度のセンサー IC (200 μΩ 電流導体)

ACS72981

ACS72981 Product Image
* Note: If you have issues logging into this feature you may need to enable 3rd party cookies in your browser settings ACS72981 ECAD Model Type Image

Description

Top Features

パッケージング

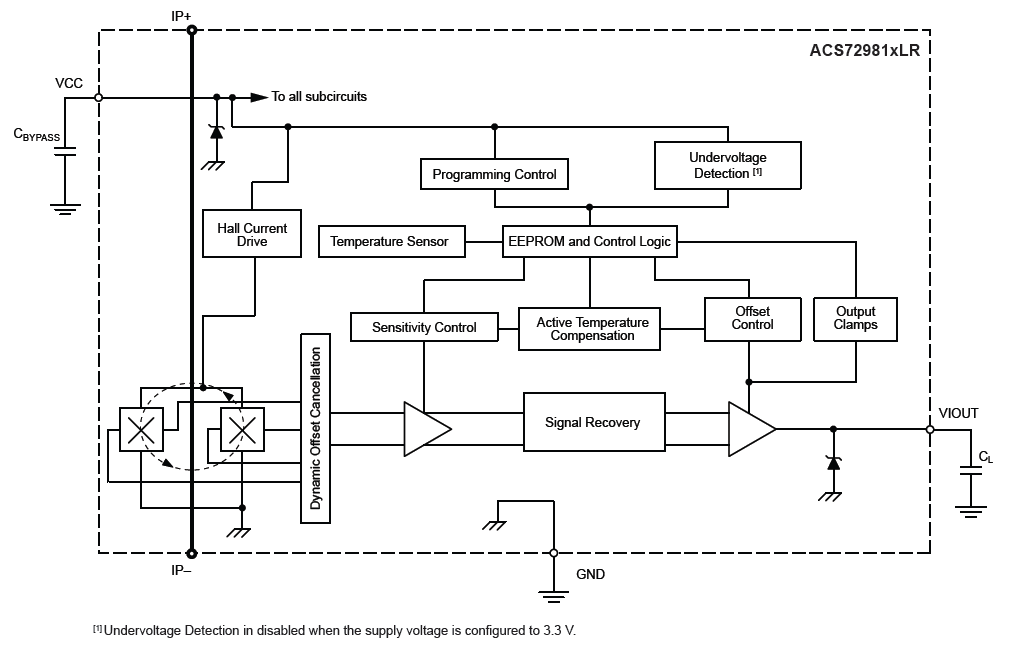
ACS72981 ファミリの電流センサー IC は、AC または DC 電流センシングに経済的で的確なソリューションを提供します。250 kHz の帯域幅を備えたこのデバイスは、モーター制御、負荷の検出管理、電源DC/DC コンバータ制御lインバータ制御に最適です。過電流を知らせる高速のフォールト出力は、セーフティ クリティカルな用途に最適です。

デバイスは、ダイ表面近くに銅伝導路を備えた正確で、低オフセットのリニア ホール回路で構成されています。この銅伝導経路を電流が流れると磁場が生じ、ホール IC によって比例電圧に変換されます。デバイスの精度は磁場信号のホール トランスデューサとの近接により最適化されています。低オフセットのチョッパー安定化 BiCMOS ホール IC は高い精度を実現できるようにプログラムされているため、正確な比例出力電圧が供給されます。独自技術であるデジタル温度補償回路技術により、温度変化や使用期間を通じてゼロ出力電圧と出力感度の精度が大幅に向上します。

 

電流のサンプリングに使用される銅伝導路 (ターミナル 5 からターミナル 6) を流れる電流の量が増加すると、デバイスの出力が高まります。この伝導路の内部抵抗は通常 200 μΩ で、電力損失の低さと用途における電力密度の高さが特徴です。

 

センサーは作動センシング技術を採用しており、コモンモードによる磁場への干渉に起因する出力外乱が実質的に除去されます。

銅伝導路の厚みにより過電流の状況でもデバイスを保護します。伝導路のターミナルは信号リード (ピン 1 番から 3 番) から電気的に絶縁されています。

デバイスは、工場出荷前に完全に較正されています。ACS72981 ファミリは鉛 (Pb) フリーです。すべてのリードは100% 無光沢スズメッキ加工されており、パッケージには鉛 (Pb) を一切含みません。厚みのあるリードフレームは高純度の無酸素銅製です。

  • 広帯域幅、250 kHz アナログ出力
  • 2 μ 秒未満の出力応答時間
  • 3.3~5.0 V 電源で動作
  • 超低電力損失:200 μΩ の内部導体抵抗
  • 業界トップクラスのノイズ耐性がさらに向上
  • デジタル プログラミングとゲイン補償および完全な動作温度範囲全体でのオフセットによって総出力誤差を大幅に改善
  • 実装の容易な小型パッケージ
  • モノリシック ホール IC で高い信頼性を実現
  • AC または DC 電流に比例する出力電圧
  • 工場出荷時の調整で高精度を実現
  • 温度変化や使用期間を通じて極めて安定したゼロ アンプ出力オフセット電圧

ACS72981 ファミリは鉛 (Pb) フリーです。すべてのリードは100% 無光沢スズメッキ加工されており、パッケージには鉛 (Pb) を一切含みません。厚みのあるリードフレームは高純度の無酸素銅製です。

LR パッケージに関する文書

Part Number Specifications and Availability

Documentation and Resources

Documentation

設計ツール

Filter Document Type:
All Types
All Types Application Note FAQ Technical Article
Documents Found: 32
Filter Document Type:
All Types
All Types Gerber File Simulation Tool SPICE Model Webpage
Documents Found: 32